DJF1減壓閥的常見故障及排除方法
在需要高壓液,同時又需要次高壓液的液壓系統中,常采用減壓閥來提供次高壓液。D-JF1減壓閥具有動作可靠、調壓方便靈活、工作穩定等突出優點。
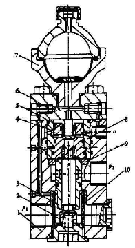
1 工作原理
D-JF1減壓閥如圖 1所示,由閥體、閥芯、閥座、活塞、安全閥、調節螺釘、蓄能器、導向套、承壓環、過濾器等組成。閥座和活塞則上下滑動。D-JF1減壓閥的工作原理:利用閥芯和閥座的間隙節流,使輸出壓力低于輸入壓力;同時輸出壓力反饋,作用在活塞上,與氣體彈簧力形成動態平衡,自動調節閥芯和閥座間的間隙,使輸出壓力保持恒定。在工作過程中,出液壓力變化時,將瞬間改變活塞的受力狀態,活塞被迫升降。閥芯所受合力總是向上,使得閥芯隨活塞同時升降,直到達到一個新的平衡位置,從而保持調壓值的恒定。
蓄能器內預充一定壓力的氮氣,作氣體彈簧用。利用調節螺釘改變蓄能器壓力以實現對D-JF1的壓力調節。緩慢開啟進液側螺釘,高壓液體進入蓄能器下部,氮氣被壓縮,壓力增高,活塞下移,閥縫增大,節流作用減弱,出口壓力增大;反之,開啟出液側螺釘,則液體減少,壓力下降,活塞上移,出口壓力減小。
 
圖 1 D-JF1減壓閥結構
2 存在的問題及改進措施
(1)蓄能器漏氣
蓄能器放進水中,若水中有氣泡冒出即查出蓄能器漏氣,這多數是充氣閥密封不良所致。D-JF1減壓閥蓄能器上充氣閥采用一個M8內六角螺釘,在其螺紋部沿長削出一平面,配一組合密封墊圈來密封,這種結構雖簡單卻易漏氣,充氣密封和檢查氣體壓力均需專用工具。
(2)調節螺釘漏液
D-JF1減壓閥是個錐閥。由于結構和制造的原因很難使其關死而不漏液。經修改后用一鋼球密封,效果很好。
(3)活塞蹩卡在最高位
在與活塞外圓相配合的導向套內孔上部,有2個小孔,鉆孔后內側有毛刺,致使活塞導向套在該處蹩卡,使輸出流量和壓力均偏低而不能滿足要求。較好的辦法是將該處增加一退刀槽,去盡導向套孔內上部2個小孔內側的毛刺。
(4)導向套外徑O形密封圈易切壞
原設計閥體與導向套的密封是O形密封圈設在閥體內孔中,為便于加工,現設在導向套上,但閥體孔口沒有20° 的倒角,致使裝配時O形密封圈易被切壞。
3 常見故障及排除方法
(1)不減壓 ①壓力太高,檢查并充氣到2.5~4.5MPa;②左側調節螺釘漏液,修光連接孔底部內錐孔;③閥縫開度太大,活塞蹩卡在最低位,活塞和導向套配合不同心,磨光配合臺階孔。
(2)出口壓力太低,調不上 ①蓄能器漏氣。檢查并充氣到規定值;②右側調節螺釘漏液。修光連接孔底部內錐孔;③閥縫開度太小,活塞蹩在最高位。拆出導向套,磨光配合臺階孔。
(3)出口壓力波動,不穩定 ①蓄能器漏氣,檢查并充氣到規定值;②左右側調節螺釘密封不良,修光連接孔底部內錐孔。
4 注意事項
日常應用時注意以下兩點:
(1)經常清洗過濾器;
(2)定期檢查蓄能器氣體壓力,并充氣到規定值。