庫鄯輸油管道減壓閥運行情況
庫鄯(庫爾勒至鄯善)輸油管道全長475km,總投資20多億元,主要設備引自國外,全線采用SCADA系統,是具備90年代水平的管道。
大落差是庫鄯輸油管道的一大特點,沿線最高點海拔為 1560.2m,最低點為 -99.3m,高低點間設置一座減壓站,裝有兩只軸流式氣動減壓閥,通過減壓閥節流,消耗了管道最高點至末站進站間的多余位能,在保證翻越點正壓運行不出現“不滿流”的情況下,防止了下游最低點的超壓,減少了下游輸油管道的壁厚,合理地降低了工程成本,達到了預期的設計目標。庫鄯輸油管道引進的荷蘭莫克維迪公司生產的減壓閥自投產以來,運行平穩可靠。
一、結構和原理
1、結構
減壓站使用的軸流式氣動減壓閥,壓力等級ANSI600,主要由閥外體、閥內體、活塞、活塞桿、閥桿和籠筒組成。
2、工作原理
減壓閥閥體為一完整的鑄造體,活塞在帶孔眼的籠筒內沿閥門的中心線軸向推移,有全沖程的導向裝置。流體流道軸向對稱,當流體流經籠筒上的小孔時,相當一部分位能由于陡增的摩阻轉化為熱能,并由油流帶走,位能大大降低,于是前后產生壓差。當活塞右移時,活塞將遮住籠筒的更多孔眼,流通面積將進一步減小,前后壓差將增大。
減壓閥能承受較大的壓力并能產生較大的壓差,能承受大落差的壓力要求,又可防止低點超壓。
3、控制原理
減壓閥的運行程序為一個運行(主閥PV-1001),另一個熱備用(副閥PV-1002),被控工藝參數是減壓閥上游壓力,該壓力由減壓閥根據減壓閥上游壓力設定值來控制。
根據實時測量的首站外輸流量,由SCADA主機軟件計算出使最高點為最佳運行值(0.1~0.2MPa)時減壓閥上游必須達到的壓力值,該計算值由主機實時傳給減壓站的PLC,作為減壓站控制回路的設定值。控制回路將其與上游壓力實測值比較,根據其偏差確定模擬信號(4~20mA)輸出量,減壓閥自身配備的單回路控制器根據接收到的4~20mA信號的大小決定減壓閥的開度,調節上游壓力,直至與設定值一致為止。
如果主閥發生故障關閉,或因流通能力不夠,使上游壓力超過副閥的設定值(6.7MPa),那么副閥將自動啟用,使上游壓力維持為6.7MPa。
如果因故障使減壓閥上游壓力超過7.0MPa,那么通過水擊泄放線泄壓。
4、控制回路
主閥與副閥的控制回路見圖 1。
 
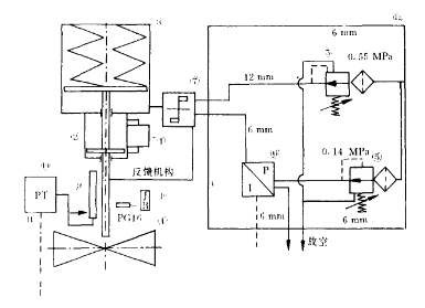
圖 1 主閥 PV-1001 的控制回路(1-控制閥;2-液壓缸;3-活塞式氣動執行器;4-手動泵;5-過濾調節器;6-I/P轉換器;7-閥位控制器;8-限位開關;9-電位計;10-連接箱;11-閥位變送器;12-氣動控制箱)
控制回路的特點如下:
(1)I/P 轉換器根據輸入的4~20mA電流,控制輸出小氣壓的小氣流。
(2)通過閥位控制器實現小氣流帶動大氣流的效果,類似晶體三極管放大原理。
(3)活塞式氣動執行器,由彈簧組與活塞組成,其中彈簧12根,6根左旋,6根右旋,活塞前后移動時產生的扭力相互抵消,減少了活塞與定位滑道的摩擦力,活塞前行依靠彈簧彈力,后行依靠控制氣流。
(4)執行器下部為液壓缸,其作用有兩點:一是起阻尼器的作用;二是如果失去氣源,還可通過手動泵開關閥。
(5)液壓管路旁接直徑為50mm的帶鋼鎧的高壓橡膠氣囊,可有效地減少自動行程,消除時間滯后現象。
二、減壓閥的優點
1、降壓效果好
庫鄯輸油管道的減壓閥為三層籠筒,為多級導向迷宮式籠筒,每層籠筒止有960個孔,孔的直徑為5mm,籠簡間距為7mm,流體三次經過收縮斷面,因而降壓效果明顯,此種類型的減壓閥減壓范圍可由40MPa降為0.1MPa,庫鄯輸油管道由7MPa降壓為1MPa即滿足要求。
2、消聲效果好
當減壓閥滿負荷運行時,噪音非常小,為60~70dB。
3、流通量大
老管道節流時常采用孔板法蘭,需經過4D~6D(D為管徑)的行程后,方由紊流恢復為層流。
庫鄯輸油管道所采用的減壓閥,當流體經過籠筒孔眼時,僅在籠筒處形成紊流(Re>4000),經2D行程后,恢復為層流(Re≤2100),故流通值大。
4、壓力平衡
減壓閥上游的原油經過閥內體與閥外體間的流道,通過籠筒孔眼進入下游,活塞橫面上有孔,下游的原油由此進入活塞和閥內體,在所有活動部件上承受大小相等、方向相反的作用力,原油沿籠筒孔眼進入時所產生的壓力方向與活塞沿籠筒軸向移動的方向垂直,因此執行機構推動活塞來回移動以調節原油流通量時,不需克服軸向力,僅需克服密封機構的彈性摩擦力。減壓閥執行機構小巧,結構緊湊。
5、傳動機構操作準確
活塞是由成90°的角式傳動機構操作的,由于活塞桿與閥桿的齒間隙為0.1mm,從而保證齒條傳動機構的操作無“滯后”現象。
6、氣源系統
氣源系統有兩個壓力為1.0MPa、體積為10m3的儲氣鋼罐,并聯工作,可保證在停電情況下減壓閥繼續工作20min。
三、注意事項
(1)氣源系統中有兩臺壓縮機、兩個空氣干燥器,由于壓縮機工作壓力為1.0MPa,排風量為30m3/h,壓縮過程中氣體中的水分易凝結沉積,因此每天需定時放兩次水,以減少干燥器的負荷,若排水系統安裝電磁閥,則可實現遙控排水。
(2)由于籠筒上的孔眼為5mm,為防止減壓閥被堵,閥前必須加裝過濾器,為保證流通量并考慮過濾網的強度,庫鄯輸油管道安裝的過濾器網眼對角線不大于3mm(濾網鋼絲直徑為1.2mm)。
投產初期,未裝過濾器,致使雜物在減壓閥內阻塞,流通能力降低。加裝過濾器后,隨著油流對籠筒孔眼的沖刷,其流通能力逐漸恢復,見圖 2。
 
圖 2 主的特性曲線(1-主減壓閥嚴重被堵時的特性曲線;2-加裝過濾器運行一段時間后,主減壓閥流通能力恢復過程中的曲線;3-主減壓閥在正常情況下的特性曲線)
根據近期采集的數據看,庫鄯輸油管道采用的減壓閥已恢復正常,運行良好。